"讲你能听得懂的理财秘籍"

文|富爸爸实战日记

转载请注明出处

大家好,昨天讲了债券基金何时买入买出,该怎么买,也讲了一下假如踩雷该怎么办。

今天来断续完成昨天的任务。

来讲讲我的债券基金是如何选出来。

曾经在前面哪天已经提过,债券基金和股票型基金不一样,股票型基金历史数据不一定能代表以后的业绩,上一年排名前十的,后一年基本无法保持原来的位置。但债券基金可以,很多债券基金连续多年业绩都非常优秀。

所以我选债券基金,主要看这个基金经理是不是老司机,过往业绩是不是优秀。

而如何找到这些优秀的基金呢,按理应该要找出每年的债券基金排名,之后找出每年排名都靠前的那些,再从中挑选我们要的。但这样工作量和难度都较大。

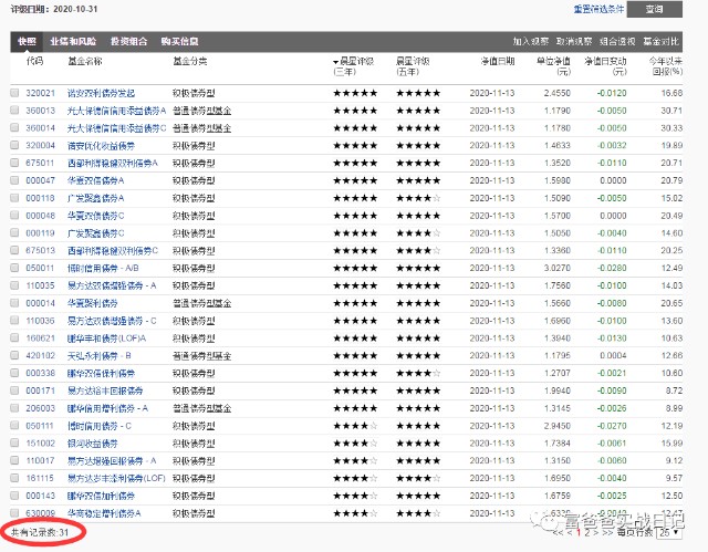
所以我一般就直接借助晨星网的基金筛选器的功能,直接选三年和五年评级都是三星以上,五年(年化)大于或等于6%,再勾选激进债券和普通债券(二级债基),如下图:

我们就可以从千来支里面,选出31支

我们再将这31支中的重仓可转债的去掉,将过于集中持有单个债券的去掉,将业绩好的时候特别好差的时候特别差的去掉(即业绩不稳定的去掉),将近几年换过基金经理的去掉,基本就可以选出我们需要的了。

如易方达裕丰回报债券,大基金大公司,经理6年313天,前五大债券仅占5.63%,五年回报(年化)7.36%,三年回报(年化)8.07%,二年回报(年化)10.37%,相当稳健,可选。

如诺安双利债券发起,可转债(可交换债)占61.57%,前五债券持仓占21.66%,过高了,放弃!

为什么要去掉重仓可转债的基金呢?

因为可转债起伏已经接近于股票了,和我们稳健的要求不符,如果真要投资,还不如直接去投资可转债基金,或是像我一样直接做可转债。

纯债基金也一样,勾上开放式,直接选三年和五年评级都是三星以上,但五年(年化)需改为大于或等于4%,再勾选纯债基金:

就可以在一千多支的纯债基金22支。

同样将重仓可转债的、过于集中持有单个债券的、业绩时好时坏的,将近几年换过基金经理的去掉。

通过这种办法找出的债券基金接下来收益不一定是最好的,也不一定是人人心目中的强者,但基本可以战胜80%以上的同行了,最重要的是简单,好操作。

以下展示号称“下有保底,上不封顶”的可转债实盘,让我们共同见证是真还是假,是亏还是赚:

今日成交

(本实盘为稳健资产配置,在保本的原则上力求扩大收益,仅供展示,非推荐,坚持不懂不买!)

本钢转债,今日又大跌,这个债只要不违约,那只拿到期收益也不错了,本来按计划是买入30股的,但这支马上满仓了,又看它跌跌不休,就只买了20股,剩10股看看还会不会再跌。

家悦转债,到期赎回税前价值110元,109.32建仓20股,符合保本策略。105价格将是我下一个加仓点。

另外打新中的一支债:同和转债,上市就封涨停,收盘127元,进入观察区。上市就要考虑卖出,打新最近还是蛮香的,中了基本都有鸡腿吃。

持仓明细

(仅供展示,非推荐,坚持不懂不买!)

注:本明细内个别成本大于120以上的转债为卖出后等量买或错误操作的结果,并非建仓线就有这么高,具体可参考:说好是保本的,为什么还有好几支可转债处于可能亏本的状态?--实盘第3期

总结

测试盘开始时间:2019年8月

总计转入资金:188000元(为陆续转入,近期转入3.9万)

总资产:221133.95元

至今日浮盈:17.62%

浮盈大减说明:因近几日准备加投,转入了一部分资金,所以对总收益增幅有一定的拉低影响,目前本盘是准备30万投资资金,有合适可转债还会陆续转入资金,直到满仓,请静待这30万明年的这个时候会有多少收益!

今日十年期国债:3.27%

可打新债:

侨银转债:信用级别AA-,转股溢价率-0.35%,中签号公布日期2020-11-19 周四,拍脑袋预测上市价格125-130,我会全力申购。

相关证券:
追加内容

本文作者可以追加内容哦 !