11月26日,国家药品监督管理局发布一批药品批准证明文件待领取信息,23个药品以补充申请方式通过一致性评价,17个药品以新注册方式分类获批并视同通过一致性评价,共涉及33家药企。其中,扬子江药业集团2品种获批:「利塞膦酸钠片」斩获首家过评,「盐酸纳布啡注射液」以新3类药品获批上市,视同过评。

图片

图片

图片

截图来源:NMPA官网

利塞膦酸钠片:双磷酸盐类药物

我国是全球骨质疏松症患者最多的国家,国内骨质疏松症总患病率为12.4%。抗骨质疏松的唯一方法,是早期预防治疗。预防和治疗骨质疏松症的药物中,双磷酸盐类药物是主要品种。此次过评的利塞膦酸钠便是一种双磷酸盐类药物。据药融云统计,利塞膦酸钠近年来的院内销售额稳定在7千万以上,今年H1销售额近5千万,同比增加65%,今年总额有望过亿。

利塞膦酸钠历年院内销售情况

图片

截图来源:药融云全国医院销售数据库

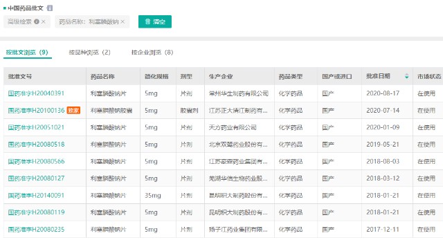
目前国内正在生产的利塞膦酸钠制剂仅有胶囊剂和片剂,前者为江苏正大清江制药的独家产品,于2020年7月获批;后者有常州扬子江药业、华生制药、天方药业、豪森、双鹭药业等7家企业进行生产销售。其中,扬子江药业于2020年10月率先递交一致性评价补充申请,并于今年11月26日获批过评,成为该品种首家过评的企业。

在使用的利塞膦酸钠制剂批文

图片

截图来源:药融云中国批文数据库

目前,还有昆明积大制药天方药业递交了利塞膦酸钠片的一致性评价补充申请并获受理。

盐酸纳布啡注射液:阿片类镇痛药

盐酸纳布啡为阿片受体激动拮抗剂,属于国家二类精神药品。作为新一代阿片类镇痛药,盐酸纳布啡主要用于缓解各种疾病引起的中到重度疼痛。由于镇痛活性强、呼吸抑制作用低、血液动力学稳定、成瘾性低,该产品可广泛用于临床。

盐酸纳布啡最早于1979年在美国上市,后在全球多个国家获批,已广泛应用于临床多年。国内最早有宜昌人福于2015年获批生产销售盐酸纳布啡注射液,为国内首仿,并于2021年4月通过一致性评价。扬子江药业曾于2020年1月以新3类报产该品种,今年5月底获批上市,成为该品种国内第2家生产企业。

据药融云统计,盐酸纳布啡自上市以来,销售额一直呈跨越式增长,2020年院内销售额为4亿,2021H1同比增长167%,今年预估将达6亿元。

盐酸纳布啡历年院内销售额

图片

截图来源:药融云全国医院销售数据库

目前,还有国药集团递交了盐酸纳布啡注射液的上市申请,正在审评审批中。



END

相关证券:
追加内容

本文作者可以追加内容哦 !