2023年成绩报告单
大家知道23年全球股市除了我们大A基本上都有收获,那我们“量率者的家”主打量化思路的策略表现怎么样呢?现将各策略成绩整理如下:

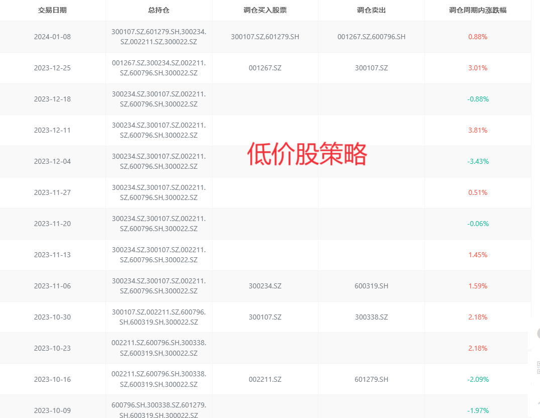
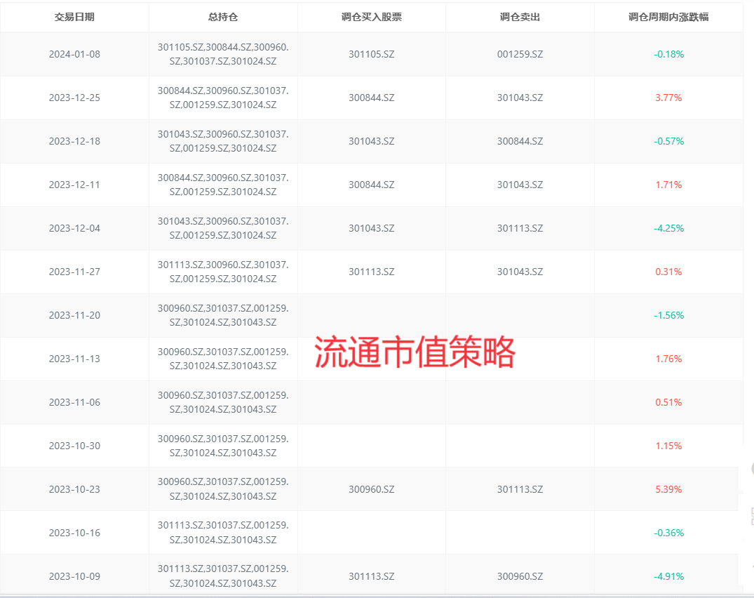
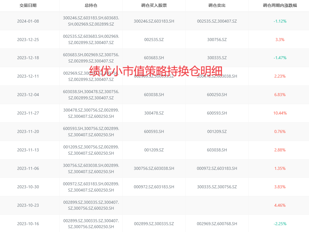
各位可能有疑问,你这数字怎么来的?让我将各策略一年来的持仓,调仓明细一一呈上,请您一定要耐心仔细的看,你就会一目了然,明明白白这44.83%、51.28%、58.05%、11.39%是怎么来的,跟着我们策略走的朋友也实实在大吃到肉了,我们手上可能有很多交易资讯,但是更重要的是我们需要实实在在的交易方法,只要方法得当,照样能穿越牛熊。




由于篇幅所限,明细不全,有兴趣的朋友,我们可以分享完整的明细。
以上就是我们23年主要策略的成绩明细,24年我们将加大策略的研究开发,根据市场不同的投资风格开发不同的策略,欢迎有志于股票、期货、期权的朋友交流,一起找到战胜市场的交易方法。
量率者的家
2023年12月30
追加内容
本文作者可以追加内容哦 !