作者 | 曾有为
来源 | 品牌观察官从辉煌的千亿营收到如今的破产重整,陕西首富李黑记的东岭集团在市场变迁中经历了惊人跌宕,引发了广泛关注与思考。
曾经带领东岭村走向共同富裕的李黑记,如今面临企业深陷债务、官司缠身的困境,东岭集团能否通过破产重整实现涅槃重生。
在金融机构纷纷抽贷、现金流紧张的恶性循环中,东岭集团的千亿帝国遭遇了空前的危机。
都说一个人只能赚到自己认知以内的钱,即使是创造了东岭传奇的陕西首富,也不例外。
改革开放后,李黑记通过承包濒临倒闭的村办企业,用积累下来的6800万元资产,带领村民从种地卖菜走向治穷致富的工业道路。
从一个濒临倒闭的村办企业,发展成为横跨多领域的商业帝国。东岭集团用四十多年的时间,书写了一个造富神话。
随着东岭集团的发展,东岭村这个贫穷落后的西北小村摇身一变成为了陕西最富有的村,2010年位居全国经济百强村第四,和著名的江苏华西村齐名。村民人均年收入超过10万元,户均资产超过300万元。
在2011年,李黑记自己也以45亿元的身价,排在《2011年胡润百富榜》的第379位,这个财富让李黑记稳坐当年陕西首富的位置。
毫无疑问,东岭集团对当地经济发展、村民就业等多方面都有着深刻的影响,为社会带来了巨大的价值。
然而,这个陕西前首富的千亿帝国,如今也难抵市场变迁,竟走到了破产重整的地步,不禁唏嘘。
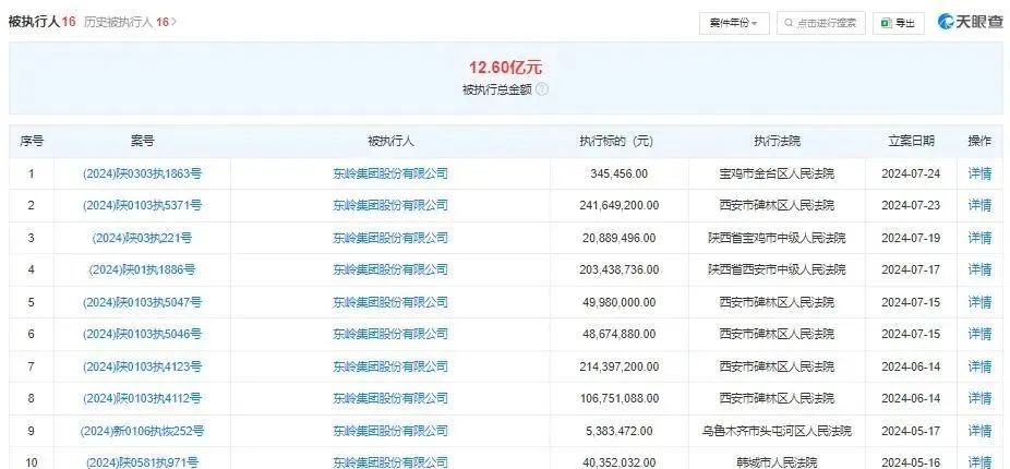
被执行总金额12.60亿元 千亿钢贸巨头走向破产重整
7月19日,阿里司法拍卖平台原本要举行一笔关于东岭集团的拍卖,但是这笔拍卖已经被终止了。
终止的原因是东岭集团被其他债权人申请破产,已裁定进入破产重整程序,要求中止执行。

到了7月29日,全国企业破产重整案件网(2024)陕03破5号公开案件,出现了东岭集团的破产审查案件,这意味被申请人东岭集团破产程序有了新实质进展。

曾经的东岭集团在陕西可谓是风光无限,2017年东岭集团总收入突破1300亿,成为陕西首家突破千亿营收的民营企业。
能够进入千亿营收俱乐部的企业,可以说是规模和实力的体现。
一般来说,踏入千亿营收门槛的,要么是央企、要么是国企,前缀大多都是“中国”两字开头的企业,而东岭集团作为一个民营企业,能够有破千亿的营收,可见真是实力不凡。
然而,这辉煌的背后藏着不为人知的暗流涌动。
今年1月,东岭集团的被执行总金额为1.11亿元,而现在,天眼查显示东岭集团已有16项被执行人记录,被执行总金额达12.60亿元,而其关联公司旗下被冻结资产超过25亿。


麻烦不止这些,信银行西安分行也要求冻结东岭集团和李黑记等名下银行2.2亿存款。
目前,东岭集团以及李黑记都已被限制了高消费。

而且根据天眼查数据,东岭集团还深陷超过百件的官司缠身,光是今年就有69件,要知道,在前几年这个数字还只是个位数,今年才过了一半就飙升到将近百件司法案件。
其中案由多为买卖合同纠纷及借款合同纠纷、金融借款合同纠纷等,而且还是作为被告方。
种种来看,东岭集团确实是在财务上遇到很大的困难了。
这几年,房地产下行,和它相关联的上下游都没有好日子过。
钢铁和有色金属都遭遇到了较大的冲击,一批钢贸企业都休了“长假”,在全国企业破产重整网,就有一批钢贸企业也进入了破产清算的阶段。
而东岭集团正好是以这几个板块为主业,再加上受到原材料价格波动、市场需求下滑等多重因素影响,盈利能力大幅下降,可想而知其的经营压力有多大。

不仅如此,在尝试通过资本市场寻求突破的过程中,东岭集团也遭到了重重困难。
李黑记曾表示过,“我们一旦拥有了上市公司,东岭的发展速度以及发展的质量是无法想象的,相信这一天一定会到来。”
尽管李黑记表示要推动东岭集团借壳上市,以实现超速发展,但是想象很美好,现实很残酷。
就像那句话说的,趁你病要你命。
在东岭集团进入危机的时候,金融机构重新评估公司资质后,纷纷选择抽贷以规避风险,导致东岭集团现金流紧张,进而形成恶性循环。
在2022年陕西民营50强企业里,曾以1500亿元营收位列第一的迈科集团已经申请破产重整,一年前还是营收老大,一年后就破产重整。
如今这种局面也轮到了在名单上排名第二的东岭集团。

不过,破产重整至少说明了企业还有价值,如果没有重整成功才会进入到清算的程序。
重整,一般都是通过引入投资,或者是削减债务的方式进行债务重组优化,达到自保目的,实现多方共赢。
5000亿营收目标遥遥无期
2019年的时候,李黑记还喊出了,5年后要达到5000亿元营收的口号。
因此,有人就问了,如果没有口罩事件,地产行情延续几年,东岭集团会不会就达到5000亿目标了?
然而,潮水退去就知道谁在裸泳。

李黑记想要达到5000亿元营收,光靠金属冶炼、矿产能源等传统业务当然是不能完成目标的,所以他需要布局多领域板块,持续扩张。
“下一步,东岭还要成立财务公司、上市公司、投资公司、票据公司和运营公司,促进企业高质量发展,力争五年内实现总收入5000亿的目标。”
同时,银行也要给予企业超出一般的支持。
就像许家印“39亿元撬动2.5万亿债务”的故事一样,在以前,不知道有多少小作坊通过负债加杠杆成为独角兽、百亿千亿级大企业。
东岭集团也不例外,截至2022年6月底,公司账面货币资金57.42亿元,但将近80%为银行承兑汇票及信用证保证金,真正具有流动性的资金实际上只有11.87亿元。
这对于一个年收入在千亿级别以上的企业来说,显然是存在一定流动性风险的,资金链的抗风险能力明显不足。

所以,当银行一抽贷,企业就遭殃了。
同时,李黑记本人不专注主业,也是为之后他的困境埋下了祸根。
为了完成企业多元化、达到5000亿元目标,李黑记涉足了产业投资、金融投资、房地产领域等。
在金融的投资上,东岭集团还投资多个基金公司,从事对外项目、金融、银行、证券、期货的资本投资业务。
在房地产的板块里,东岭集团推出了多套高端住宅,而且还斥巨资230亿元建设了一个大型综合广场,并且引进了五星酒店、金融街、东岭新天地等商业项目。

只可惜在行业下行期,作为东岭集团主营业务之一的房地产不仅遭到了重创,而且旗下的房地产板块公司还被告上公堂。
2019年后,东岭集团的营收也确实在一路走高,维持在千亿营收的水平,从2019年的1260.28亿元提高到了2021年的1327.66亿元。
但是同期的盈利能力却在不断下滑,据中国货币网上披露的跟踪评级报告,2019年—2021年,东岭集团净利润分别为7.66亿元、5.36亿元、3.89亿元,连续三年下滑。
如今,距离李黑记喊出宏大目标刚好过去5年时间了,东岭集团不仅没有达到预期目标,反而还陷入了官司缠身、债务压顶、破产重整的地步。
东岭集团能等来白衣骑士吗?
东岭集团这个体量的企业,想要起死回生,必然是需要一位实力雄厚、资源广泛的“操盘者”。
而且东岭集团也确实有“拯救”的必要,它不仅为宝鸡市的发展作出了重大贡献,也为当地人提供了很多就业岗位,让乡亲们从种地卖菜走上了致富道路。
“我李黑记‘生是东岭人,死是东岭鬼’,绝对不离开父老乡亲。大家在这里搞阶级斗争是不行的,咱们要团结起来,心往一块想、劲儿往一块使,在改革开放的大好政策下好好干。我要让所有人都过上富裕的好日子。”
这是在1995年,东岭村推选李黑记任村民小组组长时,他说出的话。
当时东岭集团的前身,也就是铆焊厂已经实现了产值破亿元,企业资产累计高达6000余万元。
李黑记,之所以取这个名字,据说是因为他脚下有一颗黑痣,于是便起名为“黑记”。
虽然名字乍一听不那么优雅,但是这个名字或许也寓意了李黑记这一生都在他出生成长的这块土地上带领乡亲们走向共同富裕。

就这样,李黑记把这6000多万元全部交给了村集体,作为村办企业发展的资本金。
之后,在李黑记的带领下,东岭村95%以上的劳动力就职于东岭集团,东岭村也一步步发展起来,摘下了贫困村的帽子,村民们再没有过上贫苦的日子了。

作为一家当地的“巨无霸”企业,东岭集团的背后是一个又一个的家庭,它倒下了,也没有人愿意看到,当然最好的结果就是东岭集团能够通过破产重整削减债务,实现涅槃重生。
本文作者可以追加内容哦 !