

中国基金报记者 卢鸰 12月8日深夜,针对近期相关“借壳上市”传言,在国内存储芯片领域具有举足轻重地位的长江存储紧急发表声明称,公司从无任何“借壳上市”的意愿。
长江存储:从无任何“借壳上市”的意愿 12月8日晚23点20分,在国内存储芯片领域具有举足轻重地位的长江存储科技有限责任公司(以下简称长江存储)在其微信公众号发表声明称: 近期,多家媒体捏造、散布和传播长江存储“借壳上市”的不实传闻。
为澄清事实,我司发表声明如下:
一、长江存储从无任何“借壳上市”的意愿。
二、长江存储与“万润科技”等上市公司无直接业务合作。
三、请相关单位自重并立即停止一切失实报道。我司将保留追究相关单位法律责任的权利。
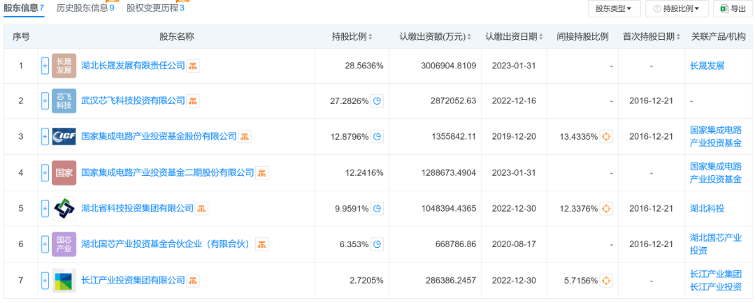
实控人并非同一家 天眼查显示,长江存储成立于2016年,是武汉金融控股集团成员,位于湖北省武汉市;企业注册资本647.11亿元,实缴资本647.11亿元。
长江存储是长江存储科技控股有限责任公司的全资子公司,两者都是武汉金融控股集团成员,其最终实控人是武汉市国资委。
此外,长江存储科技控股有限责任公司的股东还包括国家集成电路基金(俗称“大基金”)的多家成员,其总计持股比例超过50%;以及湖北省国资委旗下的长江产业投资集团有限公司,为单一第七大股东。
长江存储声明中提到的万润科技,其控股股东是湖北省国资委旗下的长江产业投资集团有限公司。
一些市场“小作文”认为,长江存储和万润科技的实际控制人是同一家,因此未来长江存储存在借壳万润科技上市的可能。
但从实际情况来看,长江存储和万润科技的实际控制人显然并非同一家,前者是武汉市国资委,后者为湖北省国资委。
12月9日早盘,万润科技股价在集合竞价时暴跌9.94%。

制作:舰长 编辑:赵新亮 审核:木鱼

版权声明
《中国基金报》对本平台所刊载的原创内容享有著作权,未经授权禁止转载,否则将追究法律责任。
授权转载合作联系人:于先生(电话:0755-82468670)
追加内容
本文作者可以追加内容哦 !