#揭秘黄杨钿甜爸爸商业版图##黄杨钿甜爸爸 雅安公务员#
今日,嘉行传媒针对近期“黄杨钿甜爸爸 雅安公务员”事件发布声明,称该公司、黄杨钿甜女士及其父母愿意接受社会公众的合理监督。此后,黄杨钿甜的爸爸杨伟也在社交媒体上对该事件进行说明。



天眼查App显示,东阳市横店黄杨钿甜影视工作室成立于2018年12月,经营者为杨伟。关联企业信息显示,除上述工作室外,杨伟还关联1家深圳市国影影视文化传播有限公司。
深圳市国影影视文化传播有限公司成立于2014年10月,注册资本500万人民币,由杨伟持股80%,为第一大股东。变更记录显示,2017年6月,司玲霞卸任法定代表人、执行董事等职务并退出股东行列,由杨伟接任并成为该公司股东。
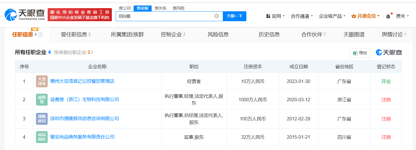
值得注意的是,5月14日,杨伟和司玲霞共同关联的益善堂(深圳)生物科技有限公司发生工商变更,该公司名称变更为深圳市水瓷慕美妆贸易有限公司,杨伟卸任法定代表人、执行董事、总经理并退出股东行列,司玲霞卸任监事。目前,司玲霞名下关联4家企业,仅1家餐饮管理店为开业状态,二人已无共同关联企业。
天眼查信息:https://www.tianyancha.com/human/1997359509-c3422329849
https://www.tianyancha.com/human/1836953581-c3062382506
追加内容
本文作者可以追加内容哦 !