据报道,因在“东旭系”审计案中违法执业,中兴财光华会计师事务所(特殊普通合伙)被财政部暂停经营业务12个月,并被罚没2.52亿元。


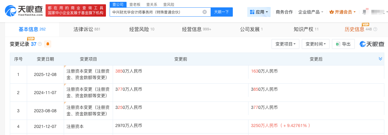
天眼查App显示,中兴财光华会计师事务所(特殊普通合伙)成立于2013年11月,执行事务合伙人为秦卫国,注册资本1630万人民币。值得一提的是,2025年12月,该所注册资本由3850万人民币减少至1630万人民币。风险信息显示,目前该所涉及多起被执行案件。
天眼查信息:https://www.tianyancha.com/company/25656890
追加内容
本文作者可以追加内容哦 !